Tủ lạnh tích hợp âm tủ Miele KF 2982 Vi - MasterCool
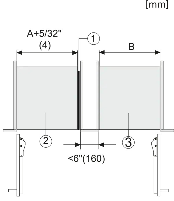
MASTERCOOL - BẢN LỀ MAXLOAD
- Đảm bảo xử lý an toàn. Bản lề cửa đặc biệt chắc chắn hỗ trợ chắc chắn các cánh cửa tủ lạnh lớn, nặng và đầy tải trong khi vẫn vận hành trơn tru. Các cửa có thể mở rộng - điều này giúp việc sử dụng tủ lạnh trở nên dễ dàng và thuận tiện.

MASTERCOOL-ICEMAKER
- Đá viên cho đồ uống mát lạnh. Làm đá lạnh đồ uống một cách chuyên nghiệp và nhanh chóng: Máy làm đá tự động có thể sản xuất tới 150 viên đá mỗi ngày, tùy thuộc vào loại thiết bị.

MASTERCOOL - MASTERFRESH
- Lưu trữ nhẹ nhàng cho độ tươi lâu dài. Các ngăn kéo của thiết bị Miele MasterCool của bạn có môi trường hoàn hảo để bảo quản thực phẩm cẩn thận. Nhờ chức năng MasterFresh cải tiến, nhiệt độ làm mát đặc biệt thấp, nhờ đó các vitamin và khoáng chất được bảo toàn trong thời gian dài. Độ ẩm cũng được điều chỉnh hoàn hảo - cho dù là trái cây, rau, các sản phẩm từ sữa, cá hay thịt. Thực phẩm của bạn tươi lâu hơn đến 3 lần.

MASTERCOOL - NOFROST
- Rã đông là một điều của quá khứ. Dù là tủ lạnh hay tủ đông: tất cả các thiết bị Miele MasterCool đều có hệ thống NoFrost tinh vi. Bạn sẽ thích nó vì nó giúp bạn tiết kiệm được những rắc rối trong việc rã đông và vệ sinh thiết bị. Việc tự động rã đông cũng bảo vệ các thiết bị bay hơi - và môi trường, vì thiết bị luôn không có đá làm mát đặc biệt tiết kiệm năng lượng.

MASTERCOOL - DYNACOOL
- Lưu trữ tối ưu cho thực phẩm của bạn. Tầng trên hay tầng dưới – đâu là nơi tốt nhất để cất đồ tạp hóa của bạn? Nhờ có DynaCool, bạn không bao giờ phải tự hỏi mình câu hỏi đó nữa. Với tủ lạnh MasterCool, bạn có thể bảo quản thực phẩm ở bất cứ đâu bạn muốn. Bởi vì một chiếc quạt ở bức tường phía sau của phòng lạnh cho phép không khí lạnh lưu thông – mang lại nhiệt độ đồng đều khắp phòng lạnh.

MASTERCOOL - CẢM BIẾN MASTER
- Hoạt động thuận tiện chỉ bằng một cú chạm ngón tay. Sử dụng trực quan để mang lại sự thuận tiện tối đa: nhờ màn hình cảm ứng TFT sáng tạo, độ phân giải cao, bạn có thể thực hiện nhiều cài đặt trực tiếp trên tủ lạnh/thiết bị rượu Miele của mình. Điều chỉnh nhiệt độ hoặc tâm trạng ánh sáng theo mong muốn của bạn - chỉ cần một lần chạm ngón tay là đủ. Màu nền của màn hình cảm ứng cũng có thể được điều chỉnh: chọn giữa màu đen trang nhã và màu trắng tinh tế.

MASTERCOOL - ÁNH SÁNG RỰC RỠ
- ánh sáng hoàn hảo. Ánh sáng ấn tượng: Nhờ có Ánh sáng rực rỡ, phần bên trong thiết bị Miele của bạn tỏa sáng dưới ánh sáng tốt nhất - ngay cả khi thiết bị đầy. Điều này được đảm bảo nhờ các dải đèn LED chất lượng cao ở mặt bên của thiết bị Miele MasterCool của bạn. Ngay khi bạn mở cửa, ánh sáng nhẹ nhàng chiếu vào và bạn có thể tận hưởng cái nhìn tổng quan hoàn hảo về cửa hàng tạp hóa của mình.

MASTERCOOL-PUSH2OPEN
- Giải pháp hoàn hảo cho thiết kế không tay cầm. Các thiết bị làm lạnh Miele MasterCool với Push2open tự mở như thể chỉ cần ấn nhẹ vào cửa sẽ kích hoạt tính năng mở tự động. Cửa mở nhẹ nhàng để bạn có thể dễ dàng với tay ra sau và mở hoàn toàn. Các thiết bị làm lạnh Miele MasterCool với Push2open hoàn toàn không yêu cầu bất kỳ tay cầm nào và do đó có thể được tích hợp một cách tối ưu vào bất kỳ nhà bếp hoặc khu vực sinh hoạt nào.

MASTERCOOL - DUPLEXCOOL PRO
- Lưu trữ tối ưu cho thực phẩm của bạn. DuplexCool Pro tạo điều kiện bảo quản an toàn trong tủ lạnh-tủ đông. Với các thiết bị lớn, công suất làm lạnh đặc biệt cao được đáp ứng tối ưu bởi 2 máy nén. Ngoài ra, không có sự trao đổi không khí giữa các khu vực - thực phẩm trong ngăn tủ lạnh không bị khô và mùi hôi từ v.d. B. Không chuyển cá vào ngăn đá tủ lạnh. Hai mạch làm mát có thể điều khiển riêng biệt cho tủ lạnh và tủ đông đảm bảo làm mát tối ưu.

KẾT NỐI THIẾT BỊ GIA DỤNG VỚI MIELE@HOME
- Với hệ thống Miele@home sáng tạo của chúng tôi , bạn có thể khai thác tối đa tiềm năng của các thiết bị Miele và làm cho cuộc sống hàng ngày của bạn trở nên thông minh hơn. Tất cả các thiết bị gia dụng thông minh của Miele đều có thể được nối mạng một cách thuận tiện và an toàn. Thao tác rất dễ dàng - cho dù với ứng dụng Miele, thông qua điều khiển bằng giọng nói hay thông qua tích hợp vào các giải pháp nhà thông minh hiện có. Kết nối mạng diễn ra thông qua bộ định tuyến WiFi gia đình và Đám mây Miele.

MASTERCOOL - EASYCLEAN
- Làm sạch thoải mái và nhanh chóng. Việc vệ sinh tủ lạnh giờ đây thậm chí còn dễ dàng hơn: Tủ lạnh Miele không có ngăn đá được trang bị hộp đựng hai phần ở các cửa bên trong. Điều này làm cho nó dễ dàng để loại bỏ các thùng chứa. Và các góc tròn của chúng rất dễ lau chùi.

MASTERCOOL - TRUY CẬP ĐẦY ĐỦ
- Mọi thứ trong nháy mắt. Các ngăn kéo chất lượng cao có thể được kéo ra hết chiều dài và do đó cực kỳ dễ chất đồ. Các tìm kiếm dài cũng không còn cần thiết nữa: giờ đây bạn có thể tìm thấy thực phẩm đông lạnh mong muốn một cách nhanh chóng và dễ dàng.

MASTERCOOL - BỘ LỌC LÀM SẠCH KHÔNG KHÍ CHỦ ĐỘNG
- Bảo vệ an toàn chống truyền mùi. Thực phẩm không chỉ được bảo quản mát mẻ mà còn trong môi trường không có mùi. Điều này cũng áp dụng cho việc bảo quản rượu vang không có mùi. Giải pháp: bộ lọc Miele Active AirClean. Sự kết hợp sáng tạo của các thành phần hoạt tính - than hoạt tính cộng với sản phẩm tự nhiên chitosan - cho phép hầu như không có mùi phát triển trong phòng lạnh. Bộ lọc có thể được tích hợp dễ dàng và nhanh chóng và sẵn sàng để sử dụng ngay lập tức.

Bảng thông số sản phẩm
DANH MỤC THIẾT BỊ
- Kết hợp tủ lạnh-tủ đông
THIẾT KẾ
- Thiết bị tích hợp
- Tích hợp thiết bị tích hợp
- Chặn cửa: bên trái và bên phải
- Có khả năng song hành
- Thắp sáng: Ánh Sáng Rực Rỡ
DỄ SỬ DỤNG
- Kết nối với Miele@home
- Hệ thống làm tươi: Ánh Sáng Rực Rỡ
- DynaCool
- Bản lề MaxLoad
- Không có sương giá
- DuplexCool Pro
- Máy làm đá có kết nối nước ngọt
- Tự đóng
- Bộ lọc AirClean đang hoạt động
- Truy cập đầy đủ
- Kệ trượt
- Dễ dàng làm sạch
- MasterFresh
- Chống tràn
- ComfortClean
- DynaCool
- Không có sương giá
- DuplexCool Pro
- Gần gũi một cách nhẹ nhàng
- Tự đóng
- Máy làm đá có kết nối nước ngọt
- Push2open
- Truy cập đầy đủ
- Dễ dàng làm sạch
- Bản lề MaxLoad
HỆ THỐNG LÁI
- Khái niệm điều hành cảm biến chính
- Kiểm soát nhiệt độ độc lập của khu vực tủ lạnh và tủ đông
- Siêu mát
- Siêu băng giá
- Số vùng nhiệt độ: 2
- Chế độ ngày sa-bát
- Chế độ ngày lễ
- Chế độ tiết kiệm
THIẾT BỊ/KHU VỰC LÀM MÁT
- Kệ có thể điều chỉnh độ cao làm bằng kính an toàn: 2
- Số lượng ngăn kéo tươi: 2
- Kệ trượt
- Giá treo cửa bên trong cho đồ hộp: 2
- Giá treo cửa nội thất cho chai: 4
TỦ ĐÔNG/KHU VỰC
- Số lượng giỏ tủ đông: 2
HIỆU QUẢ VÀ BỀN VỮNG
- Lớp hiệu quả năng lượng (A - G): f
- Tiêu thụ năng lượng mỗi năm tính bằng kWh: 415.37
- Năng lượng tiêu thụ trong 24 giờ tính bằng kWh: 1.14
- Ngôi sao năng lượng
BẢO VỆ
- Chức năng khóa
- Chống tràn
- Báo động cửa âm thanh
- Cảnh báo nhiệt độ âm thanh ngăn đông lạnh
- Báo động cửa quang
- Báo động nhiệt độ quang học


THÔNG SỐ KỸ THUẬT
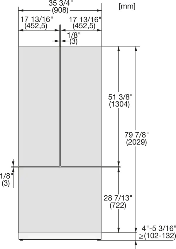
- Chiều rộng ngách tính bằng mm tối thiểu: 914
- Chiều rộng thích hợp tính bằng mm tối đa: 915
- Chiều cao thích hợp tính bằng mm tối thiểu: 2134
- Chiều cao thích hợp tính bằng mm max: 2134
- Độ sâu hốc tính bằng mm: 629
- Chiều rộng thiết bị tính bằng mm: 908
- Chiều cao thiết bị tính bằng mm: 2127
- Độ sâu thiết bị tính bằng mm: 610
- Trọng lượng tính bằng kg: 214.00
- Công nghệ buộc chặt cửa cứng
- Trọng lượng tối đa phía trước cửa của phần tủ lạnh tính bằng kg: 68
- Trọng lượng tối đa cửa ngăn đông phía trước tính bằng kg: 10
- Lớp khí hậu: SN-T
- Vùng làm mát trong l: 386
- Vùng cấp đông 4 sao tính bằng l: 166
- Tổng số nội dung hữu ích trong l: 552
- Thời gian lưu trữ trong trường hợp có lỗi tính bằng h: 13
- Công suất cấp đông kg/24h: 14.00
- Lớp phát xạ tiếng ồn trong không khí (AD): Đ.
- Phát thải tiếng ồn trong không khí tính bằng dB(A) re1pW: 42
- Mức tiêu thụ hiện tại tính bằng milliamperes (mA): 3000
- Điện áp tính bằng V: 220-240
- Cầu chì trong A: 10
- Số pha: 1
- Tần số tính bằng Hz: 50-60
- Chiều dài đường dây cấp điện tính bằng m: 3,00